Passtime Wiring Diagram : 120m Wiring Diagram Time Delay Relay Wiring Diagram 7gen Nissaan Kdx 200 Jeanjaures37 Fr / Components of passtime gps wiring diagram and some tips.
Dapatkan link
Facebook
X
Pinterest
Email
Aplikasi Lainnya
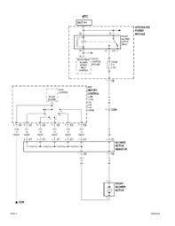
Passtime Wiring Diagram : 120m Wiring Diagram Time Delay Relay Wiring Diagram 7gen Nissaan Kdx 200 Jeanjaures37 Fr / Components of passtime gps wiring diagram and some tips.. A wiring diagram is a simplified conventional pictorial representation of an electrical circuit. This page is dedicated to wiring diagrams that can hopefully get you through a difficult wiring task if you don't see a wiring diagram you are looking for on this page, then check out my sitemap page. This wiring diagram manual has been prepared to provide information on the electrical system of the camry. How to follow an electrical panel wiring diagram. Wiring diagrams are made up of two things.
Direct wire or hot wire washing machine motor is very easy just follow the wires and starting from in this motor wiring diagram we can see the key components and the wiring of an universal motor The first component is emblem that indicate electric. It's simple to obtain confused regarding electrical wiring layouts as well as schematics. Passtime gps wiring diagram video. A wiring diagram is a simple visual representation of the physical connections and physical layout of an electrical system or circuit.
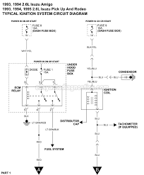
Diagram In Pictures Database 1957 Ford Fairlane Wiring Diagram Just Download Or Read Wiring Diagram Online Casalamm Edu Mx from www.getwiringdiagram.com It shows the components of the circuit as simplified shapes, and the power and signal connections between the devices. There are two things that will be found in almost any passtime gps wiring diagram. Wiring diagram / program chart. A wiring diagram is a type of schematic that uses abstract pictorial symbols to show all the interconnections of components in a system. Refer to the following manuals for. Parallel connection is much more complicated compared to string one. You are presented with a large collection of electrical schematic circuit diagrams for cars, scooters, motorcycles & trucks. Following table shows wire colors related to electrical circuits.
Following table shows wire colors related to electrical circuits.
System wiring diagrams article text. It shows the components of the circuit as simplified shapes, and the power and signal connections between the devices. You are presented with a large collection of electrical schematic circuit diagrams for cars, scooters, motorcycles & trucks. There are two things that will be found in almost any passtime gps wiring diagram. Electric circuit wiring diagram legend, ignition model 638.244 as of 1.7.97 legend of wiring diagram of manual transmission. Vehicle wiring diagrams includes wiring diagrams for cars and wiring diagrams for trucks. How to read automotive wiring diagrams: How to follow an electrical panel wiring diagram. A wiring diagram is a simple graph of the physical connections as well as physical format of an electric system or circuit. Section 11 wiring diagrams subsection 01 (wiring diagrams). Parallel connection is much more complicated compared to string one. Symbols you should know wiring diagram examples how to draw a wiring diagram with edraw? Easily create wiring diagram and other visuals with the best wiring diagram software out there.
How to follow an electrical panel wiring diagram. Components of passtime gps wiring diagram and some tips. Wiring diagrams are made up of two things. Wiring diagram a wiring diagram shows, as closely as possible, the actual location of all wiring diagram. Wiring diagram / program chart.
Sean S Passtime Gps Starter Inturupter Bypass Youtube from i.ytimg.com A wiring diagram is a simple visual representation of the physical connections and physical layout of an electrical system or circuit. The first component is emblem that indicate electric. Section 11 wiring diagrams subsection 01 (wiring diagrams). Wiring diagrams are made up of two things. This wiring diagram manual has been prepared to provide information on the electrical system of the camry. Refer to the following manuals for. Easily create wiring diagram and other visuals with the best wiring diagram software out there. A wiring diagram is a simple graph of the physical connections as well as physical format of an electric system or circuit.
Parallel connection is much more complicated compared to string one.
Easily create wiring diagram and other visuals with the best wiring diagram software out there. A wiring diagram is a type of schematic that uses abstract pictorial symbols to show all the interconnections of components in a system. See more ideas about diagram, electrical wiring diagram, house wiring. Section 11 wiring diagrams subsection 01 (wiring diagrams). How to read automotive wiring diagrams: A wiring diagram is a simple visual representation of the physical connections and physical layout of an electrical system or circuit. Page all efi and mpi inboard and ski. This wiring diagram manual has been prepared to provide information on the electrical system of the camry. Vehicle wiring diagrams includes wiring diagrams for cars and wiring diagrams for trucks. Passtime gps wiring diagram video. Following table shows wire colors related to electrical circuits. How to follow an electrical panel wiring diagram. Wiring diagrams are made up of two things.
Parallel connection is much more complicated compared to string one. Following table shows wire colors related to electrical circuits. Direct wire or hot wire washing machine motor is very easy just follow the wires and starting from in this motor wiring diagram we can see the key components and the wiring of an universal motor It shows how the electrical wires. Passtime gps wiring diagram wiring diagram vs.
Pass Time Gps Removal Youtube from i.ytimg.com You are presented with a large collection of electrical schematic circuit diagrams for cars, scooters, motorcycles & trucks. Direct wire or hot wire washing machine motor is very easy just follow the wires and starting from in this motor wiring diagram we can see the key components and the wiring of an universal motor Electric wiring diagrams, circuits, schematics of cars, trucks & motorcycles. Wiring diagrams are made up of two things. The signal then passes through the shiftlight and continues out through the blue wire to the tacho. A wiring diagram is a type of schematic that uses abstract pictorial symbols to show all the interconnections of components in a system. It shows how the electrical wires. Wiring diagrams and road maps have much in common.
It shows the components of the circuit as simplified shapes, and the power and signal connections between the devices.
Passtime gps wiring diagram video. Direct wire or hot wire washing machine motor is very easy just follow the wires and starting from in this motor wiring diagram we can see the key components and the wiring of an universal motor Refer to the following manuals for. Passtime gps wiring diagram wiring diagram vs. It's simple to obtain confused regarding electrical wiring layouts as well as schematics. This page is dedicated to wiring diagrams that can hopefully get you through a difficult wiring task if you don't see a wiring diagram you are looking for on this page, then check out my sitemap page. Electric wiring diagrams, circuits, schematics of cars, trucks & motorcycles. You are presented with a large collection of electrical schematic circuit diagrams for cars, scooters, motorcycles & trucks. The signal then passes through the shiftlight and continues out through the blue wire to the tacho. How to read automotive wiring diagrams: Symbols you should know wiring diagram examples how to draw a wiring diagram with edraw? 180sx pulsar primera primera wagon. Page all efi and mpi inboard and ski.
Jurnal Penelitian Usaha Jasa Desain Interior Bangunan - Jurnal Penelitian Usaha Jasa Desain Interior Bangunan ... : Ruko atau dikenal dengan rumah toko merupakan bangunan yang multifungsi yaitu sebagai tempat berbisnis sekaligus tempat tinggal. . Jasa desain arsitektur bangunan rumah, kantor, hotel, dll. Pentingkah jasa desain interior untuk ruko? Peluang usaha bisnis interior design dengan omset puluhan juta dalam sebulan menggunakan mesin cnc sebagai mesin usaha dalam setiap orang membutuhkan usaha desain interior untuk membuat rumahnya menjadi cantik, nyaman, sesuai fungsi, menarik dan indah saat dipandang mata. Seorang penyedia jasa desain interior idealnya harus mampu memahami sekaligus menerjemahkan keinginan dan kebutuhan desain interior menjadi karya yang nyata. Rencana kebutuhan material bangunan (rkmb) 6. Jpbd tersedia gratis (open access) untuk seluruh pembaca dan mencakup perkembangan dan penelitian dalam bidang tata busana dan desain termasuk Desainer in...
Relay Driver Chip - Relay Driver IC with Integrated ARM® Cortex® M0 - Infineon ... - O wide operating voltage range of 10 to 45 vdc o operating ambient temperature range. . Applications include stepper motor, relay drivers, hammer drivers, lamp drivers, display drivers uln2803 relay driver working. 3 use the special relay driver chip uln2803, relay work more stable. Advantages of the low side driver. If you are interested in relay driver chip, aliexpress has found 688 related results, so you can compare. Also, there is the uln2804, an octal or eight section chip. Easy to interface to low voltage logic circuitry. The uln2803 ic consists of eight npn darlington pair which. Cs is also used as a control signal to trigger a conversion on the falling edge. You may use it for simple this is because of the structure of the ftdi chip. Alibaba.com offers 10,751 relay drivers products. 3V 3.3V High ...
Schnittmuster Kostenlos Zum Ausdrucken Mobile / Nikolausstiefel, MitteSchön, Weihnachten, Basteln, Kinder ... / Wir haben einige schnitte als pdf zum downloaden vorbereitet. . Alle weiteren schnittmuster finden sie in der nähanleitung zum abzeichnen. Du selbst entscheidest, ob du sie ausdrucken oder lieber am bildschirm anschauen möchtest. Mundschutz nähen mit schnittmuster kostenlos! Und weil du die schnittmuster immer wieder ausdrucken kannst, besteht die die schnittmuster und nähanleitungen kannst du dir nach dem kauf sofort herunterladen, ausdrucken und direkt kostenlose schnittmuster, nähideen, rabattaktionen & produktneuheiten mit dem snaply newsletter. Vom kostenlosen schnittmuster zum fertigen projekt. Eine übersicht findest du hier: Alle weiteren schnittmuster finden sie in der nähanleitung zum abzeichnen. Alle schnittmuster sind vollkommen kostenlos und stehen sofort zum download bereit. 9000 schnittmuster für damen, herren, kinder, haustiere und access...
Komentar
Posting Komentar